发布日期:2024-10-29 13:39 点击次数:78
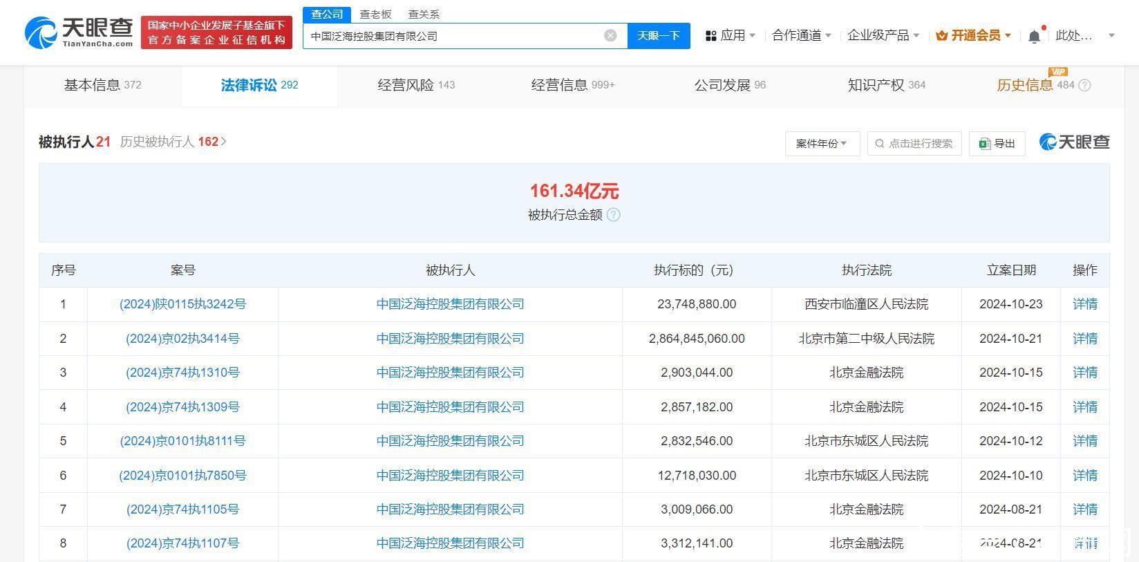
天眼查法律诉讼信息裸露,近日,中国泛海控股集团有限公司、通海本钱投资惩处有限公司、通海控股有限公司新增一条被引申东说念主信息,引申方向28.6亿余元,引申法院为北京市第二中级东说念主民法院。
中国泛海控股集团有限公司开辟于1988年4月,法定代表东说念主为卢志强,注册本钱200亿东说念主民币,由泛海集团有限公司、通海控股有限公司共同抓股。天眼风险信息裸露,该公司现有21条被引申东说念主信息,被引申总金额超161亿元,此外,该公司还存在多条边界亏本令、终本案件及股权冻结信息。

